产品介绍
一、产品概述
在非满管状敞开渠道,自然流动的自由水面状态下测量流体的流量,谓之明渠流量检测。非满管状态的量水槽称之为明渠,测量明渠中流体流量的仪表称之为明渠流量计。超声波明渠流量计是由超声波液位计、量水槽、流量积算仪三部分组成。
本仪表采用模块化电路设计,军工品质多层PCB板,硬件结构紧密,布局合理。本产品采用18键操作菜单,支持隔离4-20mA输出,支持HART通讯,内置GPRS、GPS、蓝牙等无线数据传输,支持SD卡存储或USB存储、还可根据客户需求添加。
模块实现其它功能。
本产品不必接触工业介质就能满足大部分液位、料位测量要求,彻底解决了压力式、电容式、浮子式等传统测量方式带来的缠绕、堵塞、泄露、介质腐蚀、维护不便等缺点。因此可广泛应用于与料位、液位、流量测控相关的各个领域。
二、仪表的工作原理
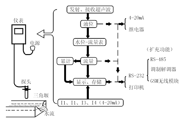
如图仪表控制探头发射和接收超声波。按图1的过程转为液位(单位:米)。再通过查水位-流量表,把液位转成流量(单位可以是:升/秒,或立方米/小时)。
如图仪表控制探头发射和接收超声波。按图1的过程转为液位(单位:米)。再通过查水位-流量表,把液位转成流量(单位可以是:升/秒,或立方米/小时)。

三、产品特点:
(1)超声波非接触式液位测量,完全不影响流速,液位测量准确是理想的液位仪。
(2)探头功耗低,安装简便,易定位,广泛应用于与河流,供水,工厂、城市排污管道等相关领域。
(3)流量积算仪操作简单,适用量水堰槽类型宽,包括薄壁直角三角堰,矩形堰,巴歇尔槽等。
(4)流量积算仪带历史流量计录功能,可计录过去60小时、30天、12个月、10年的流量数据,可通过SD卡实时记录更多历史数据。
(5)仪表控制功能全面,四路继电器信号输出,易连接常用执行机构(电动机,报警器等)。
(6)根据工况要求,探头可选IP68、防腐、防爆、小盲区高精度型、超低功耗、大量程等特殊型号产品。
(7)中文显示界面,18键按键操作。更加通俗易懂的菜单选项,更加快捷的实现人机交流。
(8)内置远程通信模块,可订制各种通信协议(订购时定制)。
四、技术参数
(1)累计流量范围:0~9999999(满8位清零,同时累计次数加1,流量单位根据设定)
(2)瞬时流量范围:10L/s~100m/s(由量水堰槽的种类、规格确定)
(3)流量精度:5%
(4)超声波换能器(液位计性)能指标:
盲区:0.06--2m(应传感器不同而不同)
测距量程:1、2、5、8、10、12、15、20、25、30、35、40m
量程标配为2m(可选高精度小盲区型或更大量程型)
ABS材质、IP65防护等级、10米屏蔽线缆(可定制任意长度)
(5)主机性能指标:
中文3吋LCD18位键盘操作
IP65防护等级M16*1.5电气接口
(6)AC220V或DC12~24V供电功耗5W
(7)信号输入(订购时选择):
换能器、4~20mA、0~20mA、1~5V、0~5V、RS485
(8)信号输出:
一路或两路4-20mA(标配一路4-20mA,换能器输入时只有一路)
RS485/232(支持Modbus协议)(订购时选择)
两路继电器输出(触点容量:AC:5A250VDC:10A120V,可做四路)
(9)传感器安装接口:
G11/2(3m量程)、M60×2(5-15m量程)、M30X1.5(20-30m量程)
(10)工作环境:常温、常压
(11)数据浏览:快速查看时、日、月、年流量记录
(12)选项功能:支持MiniSD卡数据采集、支持无线传输、支持微型打印机(订货时选购)
五、安装实例


关键词:
相关产品
相关产品
留言表单